“极简”的股价突破20日均线后买入的方式可行吗-20日均线上股价能涨多少

均线理论:20日均线是某支股票在市场上往前20个交易日的平均收盘价格,其意义在于它反映了这支股票最近一个月的平均成本。图表示例:...

均线理论:

20日均线是某支股票在市场上往前20个交易日的平均收盘价格,其意义在于它反映了这支股票最近一个月的平均成本。

图表示例:

图1列举了一个四只股票的K线图,其中的紫线就是20日均线。

图1

现象结论:

从图1中我们不难发现,股价是一直围绕了20日均线上下来回波动。

策略制定:

所以当我们在股价突破20日均线时买入,然后在一个股价到达我们设定的收益点位或者设定的最长持股时间后卖出,是不是有利可图呢。

举个例子:比如说某只股票的收盘价突破了20日均线,然后当天我们进行了买入操作,接着我们给自己设定一个5个点收益率和20个交易日的持有时间。那么在股价到达5个点的收益率但还没有到达20个交易日的持有时间时,我们就进行卖出操作。反之亦然,如果股票持有了20个交易后仍然没有到达预期的5个收益率,则也进行卖出操作。

对于以上策略的可行性有多少,我们就需要通过数据来验证。

数据整理:

数据准备:

整理2015年至今的非ST的4068只股票的日线数据(包括开盘价,收盘价,最高价,最低价,成交额度,成交量,每日涨幅)。

图2

数据计算:

以股价上穿20日均线为买点,固定20个交易日之后卖出,并记录在20天中出现的最高价和最低价。以此来生成一条交易记录(包含但不限于买入日期、买入价、最高价涨幅、最低价跌幅、卖出日期、卖出价)。总共获取了304567条数据。

图3

数据统计:

图4

从上图中可以看出来,如果我的策略是在股价上穿20日均线后买入,那么在你持股的20个交易日之内,股价上涨2个点的概率有72%,其他涨幅以此类推。

咋一看,虽然2个点的收益相对比较低,但是72%的比例还是比较高的,那是不是用2个点的收益率来做我们的收益点位,只要股价到达2个的收益率我们就卖出,是不是在股市里“躺赚”就稳如老狗呢。

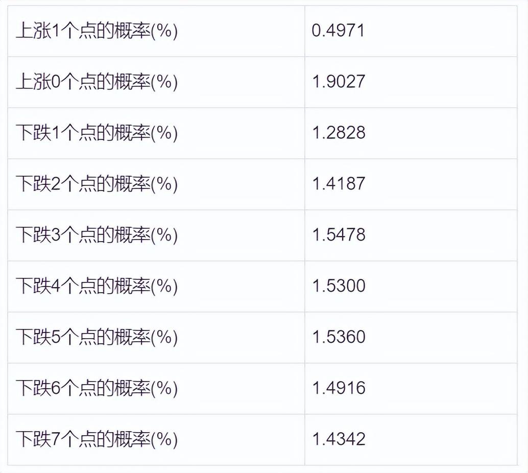
我们还需要知道如果没有拿到这2个点的收益,那么在剩下那28%的收益情况是怎么样的(也就是我们一直持有股票,直到20个交易日之后卖出)。下面是对因为没有到达2个点的收益且一直持仓到20个交易日之后卖出的收益百分比统计,因篇幅有限截取了部分数据:

图5

现在我们就可以通过上面得到的数据,然后根据回报率公式计算得出我们想要的答案了。

到达2个点的收益设定便卖出的收益:2*72.0876 = 144.1752

剩下没有到达2个点的收益只能一直持仓到20个交易日之后卖出的收益: 1*0.4971+0*1.9027+(-1)*1.2828+(-2)*1.4187+(-3)*1.5478+(-4)*1.5300+(-5)*1.5360+(-6)*1.4916+..... = -304.0

两者之和: 144 - 304 = -160,

所以得到的结论是:

如果你的策略是在股价上穿20日均线后买入,并且在到达2个点收益时卖出,如果一直达不到2个点的收益,就得一直持有,直到第20个交易日那天卖出,那么你的收益回报率是负的1.6

那如果我们设置的收益设定是5个点、10个点的收益呢?看下表。

图6

这显然不是我们想要的结果。不管设置的是哪个收益设定,都是做的赔本买卖。

那如何去调整呢?后面我们要对20个交易日这个变量进行调整,看看是否能优化我们的策略,让收益回报率为正。敬请关注后续文章。

彩蛋:细心的小伙伴有没有发现,图6中随着收益设定越来越高,亏损的越来越少了。这是不是意味着我只要把收益设定调的足够高,最终收益回报率就会为正呢。请在评论区留下你的答案[微笑]

ogp影像仪怎么样

ogp光学影像测量机

三次元光学影像测量仪

三次元光学影像测量仪

上一篇: “极有可能被大摩或小摩收购”!硅谷银行豪赌押错方向,酿金融危机以来美国最大银行破产案-coatue基金
下一篇: “构筑东方迪士尼”澄海人推103400万份股票期权,是“送福利”?-蔡氏基金
相关推荐

猜你喜欢